«Традиции точности»
Ростов-на-Дону
Бесплатный звонок по России
8 (800) 775 20 55
Телефон отдела продаж
8 (3842) 67-22-92

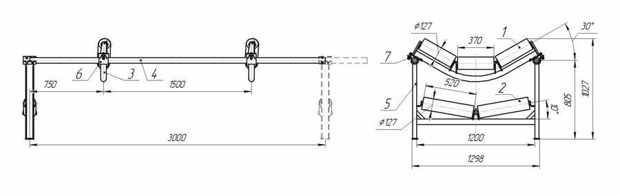
Секция линейная 100.127.32.3.ТБ.01 1000 мм

Патент
Гарантия от 12 месяцев
Получить расчет
Награда изображение Награда - изображение 2 Награда - изображение 3
Ширина ленты – 1000 мм.
Длина секции – 3 м.

Особенность: трубчатая, быстроразборная.

Состав секции:
  1. Ролик Ø127х370 – 6 шт.
  2. Ролик Ø127х520 – 2 шт.
  3. Роликоопора АЖЕ6.126.032 – 2 шт.
  4. Балка АЖЕ6.128.031 – 2 шт.
  5. Стойка АЖЕ6.150.034 – 1 шт.
  6. Кронштейн АЖЕ8.090.114 – 4 шт.
  7. Метиз М16х60 – 4 шт.
Масса секции:
без роликов – 75 кг.
с роликами – 155 кг.

Отзывы наших клиентов Все отзывы
Для реализации проекта по увеличению темпа отгрузки породы на «ОФ Каскад-2» группы компаний «АО Кузбасская Топливная Компания» - одного из крупнейших производителей и экспортеров энергетического угля в России, была поставлена задача разработки комбинированного затвора, отвечающего высоким требованиям со стороны технологии, обслуживания и безопасности
За время сотрудничества ООО УК «СИБТЕНЗОПРИБОР» зарекомендовал себя как надёжный и квалифицированный партнёр. А также показал себя как исполнительный поставщик, выполнивший договорные обязательства с отличным качеством и в установленные сроки.
Мы рады сообщить, что по итогам 2016 года Ваша компания вошла в число лауреатов традиционной премии «Клиент года».
ОАО «Белон» характеризует ООО УК «СИБТЕНЗОПРИБОР» как добросовестного поставщика и производителя горно-шахтного оборудования.
Рекомендуем ООО УК «СИБТЕНЗОПРИбОР» как надежного поставщика, своевременно исполняющего взятые на себя обязательства.
Ростов-на-Дону
подать заявку задать вопрос
Ваш город - Ростов-на-Дону?
Да, верно
Выбрать другой
Ваше местоположение